vai a COMUNE DI MILANO – Organigramma.
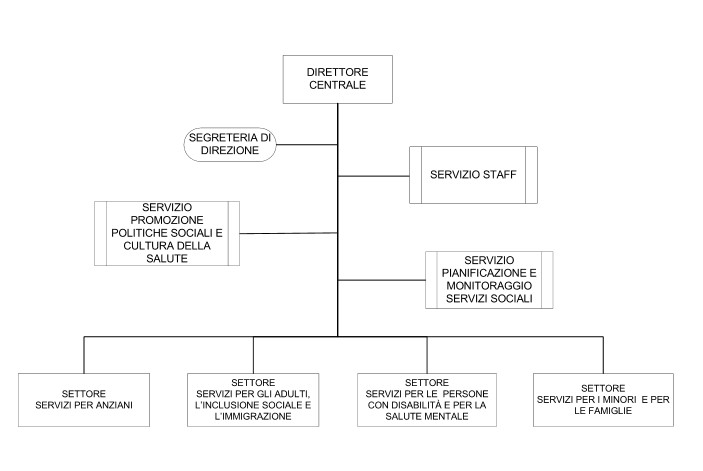
Direzione Centrale Politiche Sociali e Cultura della Salute
Competenze
- Programmazione, coordinamento e gestione dei servizi preventivi, territoriali e domiciliari e degli interventi per minori, giovani e a sostegno della genitorialità (Bonus Bebè, progetto Cicogna, di concerto con la Direzione Centrale Educazione e Istruzione)
- Programmazione, coordinamento e gestione delle strutture per anziani (Centri Socio-Ricreativi, Centri Benessere, ecc.) e dei servizi e delle attività assistenziali
- Programmazione, coordinamento e gestione dei servizi e degli interventi a sostegno del disagio sociale, delle persone in difficoltà, dell’emarginazione e delle dipendenze; attività di informazione, counselling, prevenzione, recupero e reinserimento
- Predisposizione del Piano di Zona delle politiche sociali e gestione delle attività per il funzionamento dell’Osservatorio della domanda sociale
- Gestione dei rapporti con il terzo settore e gli operatori del sociale
- Gestione dei rapporti con Regione, Aziende Sanitarie Locali, Aziende Ospedaliere, Università, Fondazioni, Farmacie milanesi e Associazioni per la promozione di interventi in ambito sanitario
- Formulazione di proposte, in accordo con i soggetti competenti, per la programmazione degli interventi idonei a soddisfare le esigenze sanitarie espresse dalla città
- Progettazione e realizzazione di iniziative per la prevenzione sanitaria e la promozione della salute; gestione di attività di sensibilizzazione, di prevenzione e realizzazione di campagne informative, iniziative, manifestazioni ed eventi
- Programmazione, coordinamento e gestione dei servizi preventivi, territoriali e domiciliari e degli interventi a favore dei portatori di disabilità, delle persone con disabilità e delle loro famiglie
- Sviluppo di progetti e iniziative a favore delle persone con disabilità
- Gestione degli interventi nell’ambito del disagio psichico
- Attuazione delle politiche di integrazione sociale
- Immigrazione
- Gestione dell’eventuale attività di affidamento e/o controllo dei servizi di pubblica utilità e delle attività strumentali a supporto dell’Amministrazione affidati a soggetti esterni, per l’ambito di competenza
- Gestione amministrativa delle attività ex legge 285/97 e progettazione delle iniziative d’intesa con la Direzione Centrale Educazione e Istruzione e altre Direzioni Centrali interessate
- Gestione e sviluppo delle attività di mediazione al lavoro (CELAV) con riferimento all’inserimento lavorativo delle persone con disabilità o in situazioni di svantaggio, di concerto con la Direzione Centrale Politiche del Lavoro, Sviluppo Economico e Università
Allegati
Dettaglio struttura e competenze
Altri Documenti
Direzione centrale EDUCAZIONE E ISTRUZIONE
Direzione Centrale Politiche Sociali e Cultura della Salute
Competenze
- Programmazione, coordinamento e gestione dei servizi preventivi, territoriali e domiciliari e degli interventi per minori, giovani e a sostegno della genitorialità (Bonus Bebè, progetto Cicogna, di concerto con la Direzione Centrale Educazione e Istruzione)
- Programmazione, coordinamento e gestione delle strutture per anziani (Centri Socio-Ricreativi, Centri Benessere, ecc.) e dei servizi e delle attività assistenziali
- Programmazione, coordinamento e gestione dei servizi e degli interventi a sostegno del disagio sociale, delle persone in difficoltà, dell’emarginazione e delle dipendenze; attività di informazione, counselling, prevenzione, recupero e reinserimento
- Predisposizione del Piano di Zona delle politiche sociali e gestione delle attività per il funzionamento dell’Osservatorio della domanda sociale
- Gestione dei rapporti con il terzo settore e gli operatori del sociale
- Gestione dei rapporti con Regione, Aziende Sanitarie Locali, Aziende Ospedaliere, Università, Fondazioni, Farmacie milanesi e Associazioni per la promozione di interventi in ambito sanitario
- Formulazione di proposte, in accordo con i soggetti competenti, per la programmazione degli interventi idonei a soddisfare le esigenze sanitarie espresse dalla città
- Progettazione e realizzazione di iniziative per la prevenzione sanitaria e la promozione della salute; gestione di attività di sensibilizzazione, di prevenzione e realizzazione di campagne informative, iniziative, manifestazioni ed eventi
- Programmazione, coordinamento e gestione dei servizi preventivi, territoriali e domiciliari e degli interventi a favore dei portatori di disabilità, delle persone con disabilità e delle loro famiglie
- Sviluppo di progetti e iniziative a favore delle persone con disabilità
- Gestione degli interventi nell’ambito del disagio psichico
- Attuazione delle politiche di integrazione sociale
- Immigrazione
- Gestione dell’eventuale attività di affidamento e/o controllo dei servizi di pubblica utilità e delle attività strumentali a supporto dell’Amministrazione affidati a soggetti esterni, per l’ambito di competenza
- Gestione amministrativa delle attività ex legge 285/97 e progettazione delle iniziative d’intesa con la Direzione Centrale Educazione e Istruzione e altre Direzioni Centrali interessate
- Gestione e sviluppo delle attività di mediazione al lavoro (CELAV) con riferimento all’inserimento lavorativo delle persone con disabilità o in situazioni di svantaggio, di concerto con la Direzione Centrale Politiche del Lavoro, Sviluppo Economico e Università
Allegati
Dettaglio struttura e competenze
Altri Documenti
Scopri di più da MAPPE nel sistema dei SERVIZI alla persona e alla comunità, a cura di Paolo Ferrario
Abbonati per ricevere gli ultimi articoli inviati alla tua e-mail.

